
您现在所在位置:网站首页>新闻快讯更新时间:2022-12-29
停更了500多天之后,李子柒与MCN机构之间的纷争总算是划上了句号。伴随着杭州微念发出的《和解公告》,“李子柒”的归属权也算是尘埃落定。根据相关信息显示,四川子柒文化传播有限公司也已于近期发生工商变更,微念创始人刘同明退出李子柒公司,微念持股比例由51%减至1%,李子柒本人(李佳佳)持股比例则由49%增至99%。就此这场闹剧迎来了尾声。

李子柒本名被注册成商标
据悉,“李子柒”的IP早已被四川子柒文化传播有限公司做了商标布局保护。通过查询发现,子柒文化传播公司旗下共有253件商标信息,其中218枚商标已经成功注册,大部分均是“李子柒”相关商标,包括文字、拼音等,几乎都做了全类别注册,布局程度不可谓不完善。但是李子柒的本名李佳佳却被多家公司注册为商标。

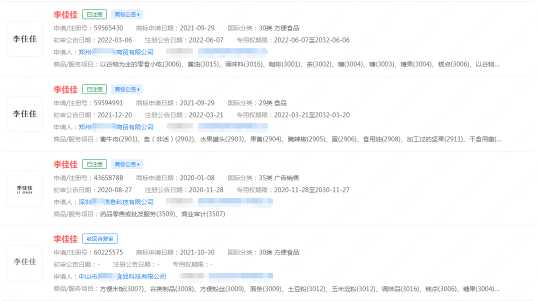
据查询,李子柒本名李佳佳被多家公司申请注册为商标,目前,已有3枚商标被成功注册,申请人分别为郑州一商贸公司以及深圳一科技公司,国际分类包括方便食品、食品、广告销售。此外,还有1枚“李佳佳”商标状态为“驳回待复审”,国际分类为30类方便食品。

商标的价值,在这个知识产权的时代被越来越多的人重视和熟知,名人的名字被抢注商标的情况也数不胜数,那么李子柒到底应该怎么做,才能尽可能争取属于自己的权利呢?
名人被抢注商标该怎么做?
目前,商标局对于用名人姓名注册商标的行为已经管理的非常严格,这类注册的驳回率本身就非常高。
那么如果一旦遇到被成功注册的商标,我们还可以通过提起无效或者诉讼的方式进行救济。同时,作为知名人士,也应该具备一定的警惕意识,提高知识产权保护意识,密切关注国家颁布的《商标公告》,一旦发现与其名字相同或近似的商标,立即提出异议,也可以委托专业的代理机构进行维权,尽全力维护自身的合法权益。

作为企业来说也是一样的,如果发现有他人申请了与自己注册商标近似的商标时,要尽早提出异议或无效,及时维护品牌权益。如果您也遇到了类似的情况,可以联系四海龙,为您提供从申请到诉讼的知识产权一站式服务。
【温馨提示】文中部分图片及素材来源网络,版权归属原作者,若有不妥,请联系告知修改或删除,谢谢!