
您现在所在位置:网站首页>新闻快讯更新时间:2023-07-07
作为国内白酒行业规模最大的集团型龙头企业,近几年以来,茅台集团不断探索多元化业务,推出了茅台月饼、茅台冰淇淋等多款产品,并引起业界轰动。而近日,一则茅台关于商标方面的动向,似乎又暴露出其“野心”。

茅台申请“茅香辣”等商标
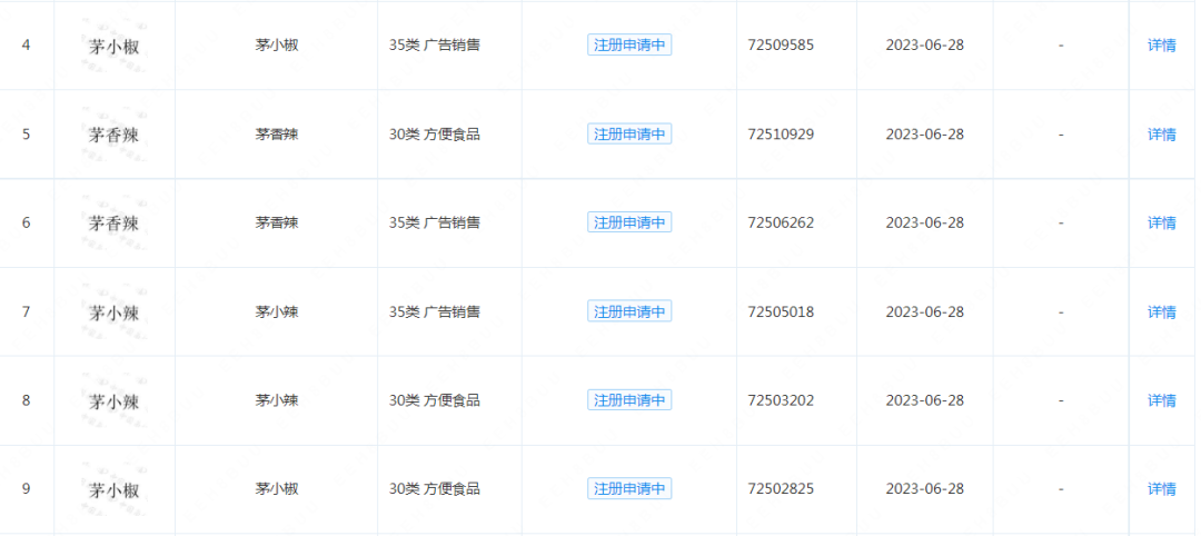
近日,通过查询发现,茅台集团正在申请注册“茅香辣”、茅小椒”商标,商标的国际分类为30类-方便食品以及35类-广告销售,当前商标状态均为注册申请中。

目前,茅台方面还没有回应,上述注册行为是保护性注册,还是茅台将布局方便食品,借“茅香辣”、茅小椒”等品牌实现多元化发展。而无论是哪一种,茅台在知识产权保护意识方面都值得众多企业学习。
值得一提的是,茅台自2022年以来,新增了“茅小凌”、“I茅台”、“冰醇之爱”等多项图文商标注册申请。其中,“冰醇之爱”的纯文字商品注册申请获通过,“茅小凌”相关商标大多处于初审阶段,“I茅台”已有35枚文字及图形商标获准注册。

去年,茅台冰淇淋刚发布时,就一炮而红,彻底点燃了酒企做“白酒+”的风潮,而有了茅台冰淇淋成功营销经验,茅台也开始围绕“白酒+”不断试水。今年6月初,茅台咖啡在茅台冰淇淋旗舰店上线,并吸引不少消费者关注。随后,茅台集团紧急回应称,含有茅台酒的咖啡并非公司新推出的跨界产品,而是门店的自发行为。
在今年股东大会上,贵州茅台副总经理王晓维表示,近几年,茅台的渠道生态正逐步向着多元化发展,系统性布局。他强调,不追求任一渠道的占比多少,最关键是要达到平衡一致。
而此次茅台申请“茅香辣”等相关商标,可能也是茅台集团释放的一个信号,方便食品领域就是茅台看中的下一条赛道,而在踏足这条赛道之前,商标布局无疑是重中之重,不仅是进入市场的前提条件,更是避免侵权与被侵权的有效保障。

市场未动,商标先行不是一句空话,更是要企业为之付诸行动的方式,只有做好商标布局,才能在“危机重重”的市场中拔得头筹。如果您的企业或品牌还没有进行布局商标,可以联系四海龙,为您提供从申请到诉讼的知识产权一站式综合服务。
【温馨提示】文中部分图片及素材来源网络,版权归属原作者,若有不妥,请联系告知修改或删除,谢谢!