
您现在所在位置:网站首页>新闻快讯更新时间:2024-12-06
近期,华为与安徽江淮联手打造的百万尊界S800终于来了!余承东介绍道,S800采用天地人和设计理念,车头运用四横两纵元素,展现出立天地纵横、汇万象合一的气度,天地人和语言也将成为尊界的家族化设计特征。

和迈巴赫、劳斯莱斯“掰手腕”,鸿蒙智行和江淮也算是实现了前所未有的突破,这一点值得肯定。尊界的出现,对于中国汽车市场来说,一定有它的意义,不管成功与否,它都是中国汽车产业迈向百年超豪华品牌的第一步,同样值得鼓励。
尊界不仅在产品设计方面取得了成功,商标布局同样不落下风。华为已申请注册多枚“尊界”商标,国际分类涉及机械设备、科学仪器、建筑修理类等,均已成功注册。

这也可以看出华为对“尊界”商标的布局十分积极。华为技术有限公司不仅在多个领域申请了“尊界”商标,还将部分商标转让给了安徽江淮汽车集团股份有限公司,显示出华为在品牌建设和与合作伙伴协同发展方面的战略考量。
前段时间,华为25亿向赛力斯汽车有限公司转让“问界”系列商标引发热议,余承东也作出了解释“因为国家法规要求,品牌商和生产商必须合一,这个品牌必须由生产厂商拥有”。除“问界”之外,华为也将“智界”、“享界”和“尊界”商标都转给了车厂。
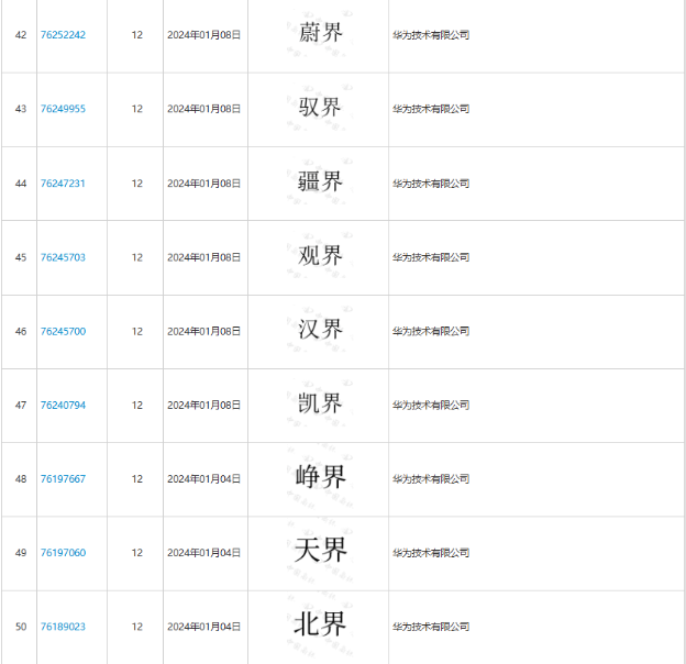
值得一提的是,华为在造车领域的商标布局可不止四界,还申请了百余件商标,包括“御界”“道界”“江界”“君界”“极界”“幻界”“傲界”“天界”“勇界”“拓界”等等,甚至还申请了“世界”商标,“界”字相关商标多达二百余件。这些商标涵盖了多个领域,为华为在不同业务领域的拓展提供了坚实的品牌基础。

申请商标,不仅可以更好的保护品牌,同时对于宣传推广也大有裨益,还能作为企业的无形资产,随着品牌不断升值。
因此建议大家,企业仅有一两件商标已经难以满足市场竞争的需求;不同商标有不同使用意图和市场作用,已成为营销利器和竞争武器;合理规划和布局商标,便能更好的保护其商标不受侵犯。
【温馨提示】文中部分图片及素材来源网络,版权归属原作者,若有不妥,请联系告知修改或删除,谢谢!