
您现在所在位置:网站首页>新闻快讯更新时间:2025-10-09
近日,江西景德镇“鸡排哥”在社交平台火爆出圈,他凭借热情亲切的服务态度、独具特色的经营方式,以及总能给顾客带来满满幸福感的“情绪价值”,圈粉无数,还被网友亲切地称作“景德镇鸡排主理人”。

第三方数据显示,截至9月29日14时,景德镇(鸡排哥)视频平台粉丝数为37.2万,商业化水平显示,其1-20s、21-60s、60s以上视频广告报价均为10元。 景德镇鸡排哥(李俊永)也于2025年9月30日登记设立景德镇市珠山区李俊永餐饮管理工作室,注册资本5万元,目前登记状态为“开业”。
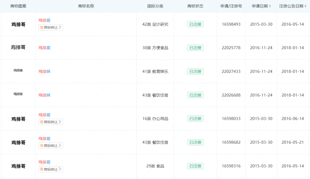
但是“鸡排哥”商标已被抢注,申请人包括上海一食品公司、北京一餐饮管理公司,国际分类涉及办公用品、广告销售、食品等,目前部分商标已成功注册。此外,已有多家公司以“鸡排哥”命名,包括福清市玉屏鸡排哥小吃店、明山区鸡排哥炸鸡店等。

同时,“主理人”也早已被申请注册商标。通过检索发现,2019年以前申请注册在多件“主理人”商标均已被核准注册,但2020年往后申请的“主理人”商标已悉数被驳回。

当一个商标名称慢慢成为网络热词或通用名称,失去了区分商品/服务来源的功能,注册成功的概率微乎其微。如侥幸将热词成功注册为商标,随着热度消退,商标也会逐渐沦为“过气商标”,价值也将随之降低。
商标的核心价值,从来不是靠蹭流量得来的热度,而是靠长期良心经营积累的口碑。与其耗费精力抢注热词商标,不如像“鸡排哥”那样——用干净卫生的食材、细致的服务体验吸引顾客。当品牌自带好口碑,即便核心商标遭遇抢注,消费者依然能清晰辨别谁是“正宗品牌”。
【温馨提示】文中部分图片及素材来源网络,版权归属原作者,若有不妥,请联系告知修改或删除,谢谢!