
您现在所在位置:网站首页>新闻快讯更新时间:2026-04-17
今麦郎“手打”商标引发的舆论风波还未平息,“心机商标”又多了一个新案例。
4月15日,据报道,浙江柚香谷控股股份有限公司旗下的宋柚汁年销售额超10亿,已成为现象级饮品。然而,其“柚”实际含量不到3%,配料表前排多为白砂糖、果葡糖浆。具体来看,一瓶300g的宋柚汁中,香柚实际含量为6.3克,胡柚为1.8克,两者累计仅8.1克,占整瓶总重量的2.7%。

值得一提的是,针对宋柚汁中柚含量低的争议,柚香谷曾在官方微信公号发文作出说明:经多轮研发测试,综合风味、口感与产品稳定性,最终确定香柚(YUZU)果皮及果肉添加量为 21g/kg、胡柚果皮及果肉添加量为 6g/kg。
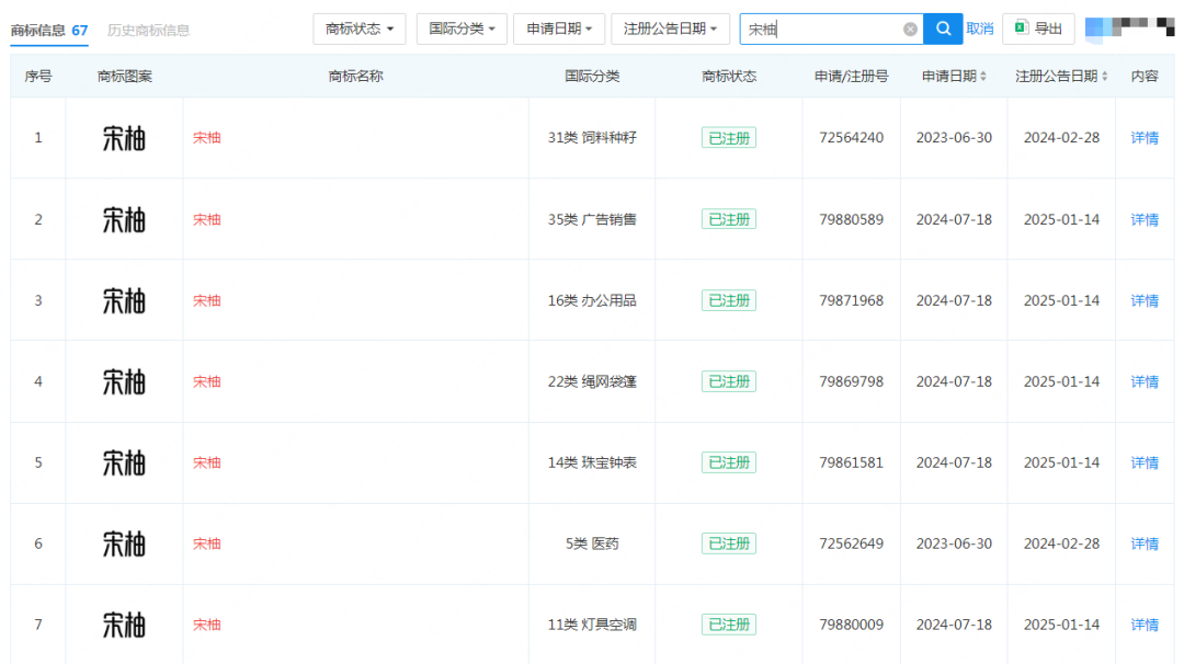
同样陷入争议的,还有宋柚汁的商标。在宋柚汁的瓶身上,“宋柚”的右上角有个®,表明“宋柚”只是个注册商标。据公开资料显示,柚香谷共注册了67条“宋柚”商标信息。

事实上,类似的“心机商标”套路早已不是新鲜事。4月初,今麦郎也因“手打”二字是商标,被推上舆论的风口浪尖。此外,千禾0”酱油上“千禾0”是商标,白象“多一半”、“多半”也是商标。
针对企业在商标上耍花样、玩“文字游戏”的乱象,监管也在着手整治。2025年末,商标法迎来了5年来首次修订,将对“以误导公众方式使用的注册商标”加大整治力度,情形严重的将被撤销商标。
从“手打”挂面到“宋柚汁”,这些案例提醒消费者,在购买商品时需要更加仔细地辨别产品信息。同时,也对企业敲响了警钟:文字游戏只能谋取一时之利,长远来看,这种背离初衷、透支信任的做法,无异于竭泽而渔。诚信经营才是可持续发展之道。
【温馨提示】文中部分图片及素材来源网络,版权归属原作者,若有不妥,请联系告知修改或删除,谢谢!