
您现在所在位置:网站首页>新闻快讯更新时间:2026-04-24

据公开信息显示,“0脂”已被多方抢注为商标,申请人包括内蒙古蒙牛乳业(集团)股份有限公司、三得利控股株式会社等,国际分类涉及食品、方便食品、啤酒饮料等,目前绝大多数商标已被驳回,处于无效状态。
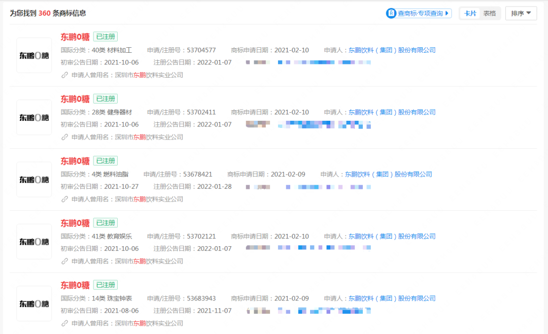
此外,“0糖”已被多方抢注为商标,申请人包括东鹏饮料(集团)股份有限公司、徐福记国际控股集团有限公司、奈雪的茶关联公司深圳市品道餐饮管理有限公司等,国际分类涉及食品、方便食品、啤酒饮料等,目前绝大多数商标已被驳回,处于无效状态。

4月23日,东鹏饮料方面回应:“关于‘东鹏特饮0糖为商标’的讨论,我们于2021年4月上市‘东鹏0糖特饮’产品,该产品严格遵循国家法规(《GB28050-2011预包装食品营养标签通则》)针对‘0糖’(无糖)的标准要求,商标注册是出于产品品牌保护需求。”
东鹏饮料方面表示,该公司于2025年6月上市瓶装版“无糖型东鹏特饮”,该产品同样严格遵循国家法规(《GB28050-2011预包装食品营养标签通则》)针对“0糖”(无糖)的标准要求,可放心饮用,原罐装“东鹏0糖特饮”目前已暂停售卖。
《商标法》明确规定,带有欺骗性、易使公众对商品质量等特点产生误认的标志,不得作为商标使用;即便已注册,使用时也需遵循诚实信用原则。《食品标识监督管理办法》则要求,食品标识不得欺骗、误导消费者,预包装食品标签应标注反映真实属性的名称。
此外,《反不正当竞争法》也明确规定:经营者不得对其商品的性能、功能、质量、销售状况、用户评价、曾获荣誉等作虚假或者引人误解的商业宣传,欺骗、误导消费者。这一条款的适用,并不以商标是否注册为前提。