
您现在所在位置:网站首页>新闻快讯更新时间:2024-12-09
理发师晓华的迅速走红不仅为她个人带来了广泛的关注,也为整个理发行业带来了关于商标保护的重要启示。晓华的经历提醒我们,理发店在经营过程中,不仅要专注于提升服务质量,还要高度重视商标保护,确保品牌权益不受侵害。那么,理发店应该注册哪几类商标呢?

据悉,晓华走红后曾对理发店的招牌进行更新,加上了她的名字 “甘晓华”,但刚换上没几天就被摘下,这一异常举动引起了众人的关注和猜测,网友们认为这或许与晓华的商标被抢注有关。

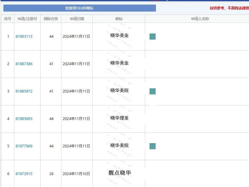
通过查询发现,自晓华走红后,有多个企业和自然人提交了”晓华“、”甘晓华“、”晓华美业“等商标的注册申请,令人震惊的是这些商标无一是晓华本人申请,目前这些商标均为等待实质审查。

那么,理发店应该注册哪几类商标呢?
1. 核心服务类商标
对于理发店而言,最直接且核心的商标类别是第44类,即“医疗服务、兽医服务、美容服务及相关服务”。这类商标涵盖了理发、美容、美发等核心服务,是理发店必须注册的基础类别。晓华理发店的招牌被短暂挂上后摘下,很可能与“晓华”及“甘晓华”等相关商标在第44类上的抢注有关。因此,理发店在开业之初或品牌建立之初,就应尽早注册此类商标,防止被恶意抢注。
2. 相关商品类商标
除了核心服务类商标,理发店还应考虑注册与自身业务相关的商品类商标。例如,如果理发店提供护发产品、发饰等周边商品的销售服务,那么应注册第3类(化妆品、清洁用品等)和第18类(皮革制品、箱包及类似品,可能涉及发饰等商品)的商标。这样可以确保在销售这些商品时,品牌权益得到全面保护。
3. 品牌延伸类商标
随着品牌的发展,理发店可能会考虑向其他领域进行延伸,如开设连锁店、提供在线预约服务等。因此,理发店还应考虑注册第35类(广告、商业经营等)和第42类(科技服务、网站运营等)的商标。这些类别有助于保护品牌在商业经营、广告宣传和在线服务等方面的权益。
4. 防御性商标
为了防止他人在相似领域注册与自身品牌相似的商标,理发店还可以考虑注册防御性商标。这包括注册与品牌名称相似但略有差异的商标,以及在不同类别上注册相同或相似的商标。这样做可以增加品牌保护的广度和深度,降低被侵权的风险。
【温馨提示】文中部分图片及素材来源网络,版权归属原作者,若有不妥,请联系告知修改或删除,谢谢!