
您现在所在位置:网站首页>新闻快讯更新时间:2025-09-26
近年来,连锁零食量贩店肉眼可见的多了起来,火爆至一条街可能会有四五家零食店扎堆经营。而在零食界“赵一鸣”可谓是一匹黑马,短时间内从一家小炒货店逆袭成为了“零世界网红”。

品牌名“赵一鸣”你绝对想不到,它是来源于一个孩子的“姓名”,该名称是创始人赵定儿子的名字。正应和了那句话,做品牌就像带孩子。产品IP形象的视觉投资,一目了然,更易识别。
据悉,赵一鸣是在2019年成立,起初是从一家小炒货店起步,然后拓展逐步涉足零食领域,目前赵一鸣的一直在加速扩张,而快速扩张需要强大的运营能力来承接,在开放加盟的三年里开出了4000多家门店,门店规模与品牌知名度也由此飙升。
随着,企业版图的持续扩张,商标保护成为了赵一鸣零食发展战略中的重要一环,据了解,宜春市赵一鸣商贸有限公司名下目前共计申请500多件商标,涵盖了文字商标、黑体文字商标、文字加英文还有该品牌的各色图形商标以及图形与文字或图形与英文的组合等多种商标形式。

国际分类更是涉及到肉食蜜饯(29类)、方便食品(30类)、新鲜果蔬(31类)、啤酒饮料(32类)、广告销售(35类)核心类别;构成了一个全面而详尽的商标保护体系,更为品牌的多元化发展和未来可能的业务延伸提供了坚实的法律支撑。
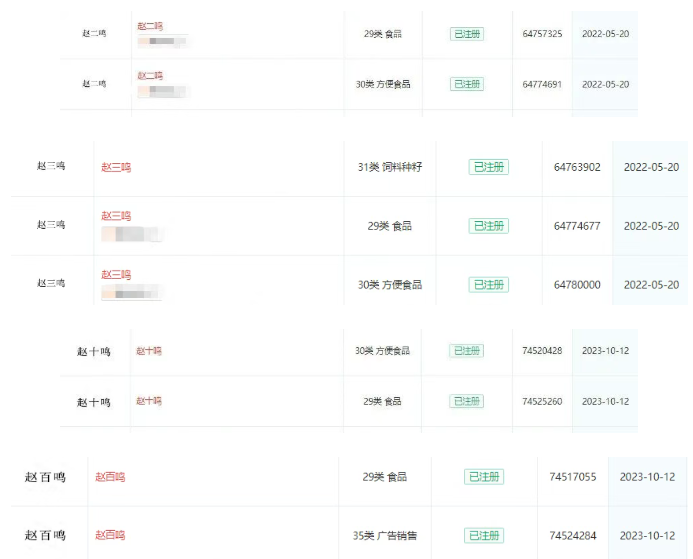
值得一提的是,赵一鸣在注册防御性商标上的布局展现出了其深邃且卓越的战略眼光,其名下申请布局了多枚“赵二鸣、赵三鸣,赵十鸣、赵百鸣、赵千鸣、赵万鸣、赵亿鸣”等商标。

同时还对赵一鸣甄选、赵一鸣严选、赵一鸣同学等一系列相似商标。这种防御性的策略,不仅有效防范了商标被抢注或山寨的风险,更为品牌的长期发展筑起了一道坚不可摧的法律屏障。
正是这样全面而细致的商标布局,让赵一鸣零食在激烈的市场竞争中脱颖而出。他们不仅确保了自身品牌的安全与稳定,更为未来的业务拓展和品牌延伸奠定了坚实的基础。由此,赵一鸣的防御商标注册为所有零食店老板做出了表率,这一点是值得所有企业学习的,而防御性商标的及时注册对于企业来说也具有重要意义,主要体现在以下几个方面:
1.防止商标被抢注
零食市场竞争激烈,若仅在核心类别(如30类食品)注册商标,他人可能在其他类别(如35类广告销售、43类餐饮服务)抢注相同或近似商标。通过防御商标注册,可提前占据相关类别,避免竞争对手“搭便车”,保护品牌独特性。
2.降低维权成本
若商标被抢注,后续维权需耗费大量时间、精力和资金。防御商标注册可提前布局,减少侵权纠纷风险。一旦发现侵权行为,可直接依据防御商标主张权利,降低举证难度和成本。
3.助力品牌延伸与多元化发展
零食店未来可能拓展业务,如推出周边产品、开设线下门店或开展线上营销。防御商标注册可为企业预留商标资源,确保品牌在新领域合法使用,避免因商标被占而导致发展受限。
4.维护品牌声誉与消费者信任
相似商标的出现容易导致消费者混淆,影响品牌口碑和忠诚度。及时申请防御商标注册能有效遏制山寨产品,保护品牌形象,让消费者更放心地选择正版产品。
这里要注意“防御商标”并不是胡乱注册的,我们也要合理规范的申请注册,这样才可以更好的保护产品。
【温馨提示】文中部分图片及素材来源网络,版权归属原作者,若有不妥,请联系告知修改或删除,谢谢!